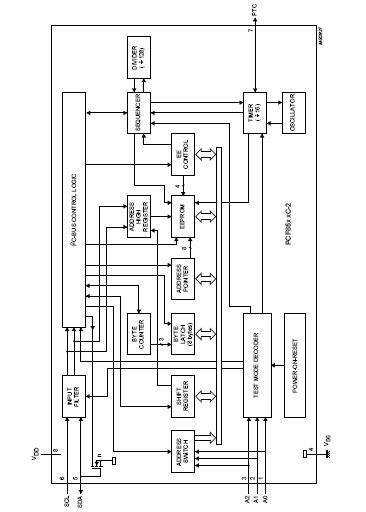
Product Summary
The PCF8582C-2 is a 256×8-bit CMOS EEPROM with I2C-bus interface. The PCF8582C-2 is a member of floating gate Electrically Erasable Programmable Read Only Memories (EEPROMs) with 2, 4 and 8 kbits (256, 512 and 1024×8-bit). By using an internal redundant storage code it is fault tolerant to single bit errors. This feature dramatically increases the reliability compared to conventional EEPROMs. Power consumption is low due to the full CMOS technology used. The programming voltage is generated on-chip, using a voltage multiplier.
Parametrics
PCF8582C-2 absolute maximum ratings: (1)supply voltage: -0.3V to +6.5V; (2)input voltage on any input pin: VSS-0.8V to +6.5V; (3)input current on any input pin: -1mA; (4)output current: -10mA; (5)storage temperature: -65℃ to +150℃; (6)operating ambient temperature: -40℃ to +85℃.
Features
PCF8582C-2 features: (1)Low power CMOS: maximum operating current: 2mA; (2)maximum standby current 10μA (at 6.0V), typical 4μA; (3)Non-volatile storage of: 2 Kbits organized as 256×8-bit; (4)Single supply with full operation down to 2.5V; (5)On-chip voltage multiplier; (6)Serial input/output I2C-bus; (7)Write operations: byte write mode, 8-byte page write mode (minimizes total write time per byte); (8)Read operations: sequential read, random read; (9)Internal timer for writing (no external components); (10)Power-on-reset; (11)High reliability by using a redundant storage code; (12)Endurance: 1000000 Erase/Write (E/W) cycles at Tamb=22℃; (13)10 years non-volatile data retention time; (14) Pin and address compatible to: PCF8570, PCF8571, PCF8572 and PCF8581.
Diagrams

| Image | Part No | Mfg | Description | ![]() |
Pricing (USD) |
Quantity | ||||||||||||
|---|---|---|---|---|---|---|---|---|---|---|---|---|---|---|---|---|---|---|
![]() |
![]() PCF8582C-2T/03,118 |
![]() NXP Semiconductors |
![]() EEPROM 256X8 EEPROM I2C BUS SO-8 |
![]() Data Sheet |
![]()
|
|
||||||||||||
![]() |
![]() PCF8582C-2T/03,112 |
![]() NXP Semiconductors |
![]() EEPROM EEPROM 256X8 W/I2C 100KHZ -40+85 |
![]() Data Sheet |
![]()
|
|
||||||||||||
![]() |
![]() PCF8582C-2 |
![]() Other |
![]() |
![]() Data Sheet |
![]() Negotiable |
|
||||||||||||
![]() |
![]() PCF8582C-2P/03,112 |
![]() NXP Semiconductors |
![]() EEPROM EEPROM 256X8 W/I2C |
![]() Data Sheet |
![]()
|
|
||||||||||||
(Hong Kong)










