Product Summary
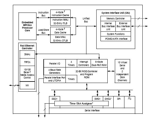
The MPC859DSLZP50A is a versatile single-chip integrated microprocessor and peripheral combination that can be used in a variety of controller applications and communications and networking systems. The MPC859DSLZP50A provides enhanced ATM functionality over that of other ATM-enabled members of the MPC860 family.
Parametrics
MPC859DSLZP50A absolute maximum ratings: (1)Supply voltage VDDH: -0.3V to 4.0V; (2)Supply voltage VDDL: -0.3V to 2.0V; (3)Supply voltage CDDSYN: -0.3V to 2.0V; (4)Supply voltage Difference between VDDL to VDDSYN: 100mV; (5)Input voltage: GND–0.3V to VDDH V; (6)Storage temperature range: -55℃ to 150℃.
Features
MPC859DSLZP50A features: (1) Embedded single-issue, 32-bit PowerPC core (implementing the PowerPC architecture) with thirty-two 32-bit general-purpose registers (GPRs); (2) The MPC866/859 provides enhanced ATM functionality over that of the MPC860SAR. The MPC866/859 adds major new features available in enhanced SAR (ESAR) mode; (3)Up to 32-bit data bus (dynamic bus sizing for 8, 16, and 32 bits); (4)Thirty-two address lines; (5)Memory controller (eight banks); (6)General-purpose timers; (7)Fast Ethernet controller (FEC); (8)System integration unit (SIU); (9)Seven external interrupt request (IRQ) lines; (10)Communications processor module (CPM); (11)Four baud rate generators; (12)MPC866P and MPC866T have four SCCs (serial communication controller); MPC859P, MPC859T, and MPC859DSL have one SCC; and SCC1 on MPC859DSL supports Ethernet only; (13)Normal high and normal low power modes to conserve power 1.8 V core and 3.3 V I/O operation with 5-V TTL compatibility; refer to Table 6 for a listing of the 5-V tolerant pins; (14)357-pin plastic ball grid array (PBGA) package; (15)Operation up to 133 MHz.
Diagrams

| Image | Part No | Mfg | Description | ![]() |
Pricing (USD) |
Quantity | ||||||||||
|---|---|---|---|---|---|---|---|---|---|---|---|---|---|---|---|---|
![]() |
![]() MPC859DSLZP50A |
![]() Freescale Semiconductor |
![]() Microprocessors (MPU) POWER QUICC I HIP6W |
![]() Data Sheet |
![]()
|
|
||||||||||
| Image | Part No | Mfg | Description | ![]() |
Pricing (USD) |
Quantity | ||||||||||
![]() |
![]() MPC800 |
![]() Other |
![]() |
![]() Data Sheet |
![]() Negotiable |
|
||||||||||
![]() |
![]() MPC801 |
![]() Other |
![]() |
![]() Data Sheet |
![]() Negotiable |
|
||||||||||
![]() |
![]() MPC801KG |
![]() Other |
![]() |
![]() Data Sheet |
![]() Negotiable |
|
||||||||||
![]() |
![]() mPC8104GR |
![]() Other |
![]() |
![]() Data Sheet |
![]() Negotiable |
|
||||||||||
![]() |
![]() mPC8106TB |
![]() Other |
![]() |
![]() Data Sheet |
![]() Negotiable |
|
||||||||||
![]() |
![]() mPC8109TB |
![]() Other |
![]() |
![]() Data Sheet |
![]() Negotiable |
|
||||||||||
(Hong Kong)










