Product Summary
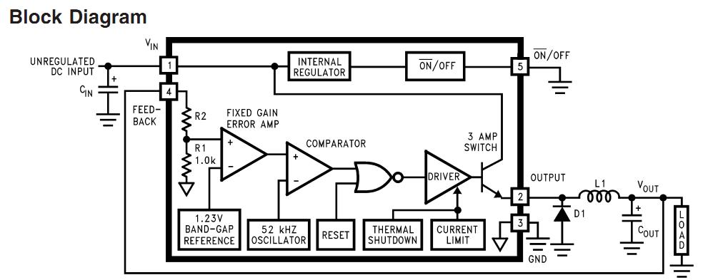
The LM2576SX-ADJ is a 3A Step-Down Voltage Regulator. It is a monolithic integrated circuit that provides all the active functions for a step-down (buck) switching regulator, capable of driving 3A load with excellent line and load regulation. The LM2576SX-ADJ is available in fixed output voltages of 3.3V, 5V, 12V, 15V, and an adjustable output version. The applications of the LM2576SX-ADJ include Simple high-efficiency step-down (buck) regulator, efficient pre-regulator for linear regulators, On-card switching regulators and Positive to negative converter (Buck-Boost).
Parametrics
LM2576SX-ADJ absolute maximum ratings: (1)Maximum Supply Voltage: 45V; (2)ON /OFF Pin Input Voltage: -0.3V ≤ V ≤ +VIN; (3)Output Voltage to Ground (Steady State): -1V; (4)Power Dissipation: Internally Limited; (5)Storage Temperature Range: -65 to +150℃; (6)Maximum Junction Temperature: 150℃; (7)Minimum ESD Rating (C = 100pF, R = 1.5kΩ): 2kV; (8)Lead Temperature (Soldering, 10 Seconds): 260℃.
Features
LM2576SX-ADJ features: (1)3.3V, 5V, 12V, 15V, and adjustable output versions; (2)Adjustable version output voltage range, 1.23V to 37V (57V for HV version) ±4% max over line and load conditions; (3)Guaranteed 3A output current; (4)Wide input voltage range, 40V up to 60V for HV version; (5)Requires only 4 external components; (6)52 kHz fixed frequency internal oscillator; (7)TTL shutdown capability, low power standby mode; (8)High efficiency; (9)Uses readily available standard inductors; (10)Thermal shutdown and current limit protection; (11)P+ Product Enhancement tested. 
Diagrams

| Image | Part No | Mfg | Description | ![]()  | 
                            Pricing (USD)  | 
                            Quantity | ||||||||||||||
|---|---|---|---|---|---|---|---|---|---|---|---|---|---|---|---|---|---|---|---|---|
![]()  | 
                            ![]() LM2576SX-ADJ  | 
                            ![]() National Semiconductor (TI)  | 
                            ![]() Switching Converters, Regulators & Controllers  | 
                            ![]() Data Sheet  | 
                            ![]() 
  | 
                            
                            	 | 
                      ||||||||||||||
![]()  | 
                            ![]() LM2576SX-ADJ/NOPB  | 
                            ![]() National Semiconductor (TI)  | 
                            ![]() Switching Converters, Regulators & Controllers 3A STEP-DOWN VLTG REG  | 
                            ![]() Data Sheet  | 
                            ![]() 
  | 
                            
                            	 | 
                      ||||||||||||||
 (Hong Kong) 
                         
                        
                                    








